Підібрати обладнання
автоматичний розрахунок комплекту обладнання для холодильної камери

У кошику порожньо!
Короткий опис
Tecumseh Europe пропонує широкий асортимент компресорів для торговельного холодильного обладнання (вітрин, льдогенераторов, охолоджувачів напоїв, технологічного обладнання) і кондиціонування повітря. Компресори Текумсе ... Читати далі...
Короткі характеристики
автоматичний розрахунок комплекту обладнання для холодильної камери
Написати в Viber
Написати в Telegram
| ------- | |
| Актуальність | актуальний |
| Бренд | Tecumseh Europe |
| Гарантія | 12 місяців |
| Діаметр патрубків всмоктування | 6.35 мм (1/4 ') |
| Діаметр патрубків нагнітання | 4.76 мм (3/16 ') |
| Живленя | 220-240V / 50Hz / 1 ~ |
| Країна бренду | Франція |
| Модельний ряд | AEZ |
| Обсяг заправки масла | 250 см3 |
| Основна характеристика cм³ | 8.8 |
| охолодження при t ° конд. + 54,5 ° С, t ° кіп.-10 ° С | 391 Вт |
| Охолодження при t ° конд. + 54,5 ° С, t ° кіп.-15 ° С | 304 Вт |
| Охолодження при t ° конд. + 54,5 ° С, t ° кіп.-20 ° С | 228 Вт |
| Охолодження при t ° конд. + 54,5 ° С, t ° кіп.-23,3 ° С | 185 Вт |
| Охолодження при t ° конд. + 54,5 ° С, t ° кіп.-25 ° С | 132 Вт |
| охолодження при t ° конд. + 54,5 ° С, t ° кіп.-30 ° С | 112 Вт |
| охолодження при t ° конд. + 54,5 ° С, t ° кіп.-35 ° С | 71 Вт |
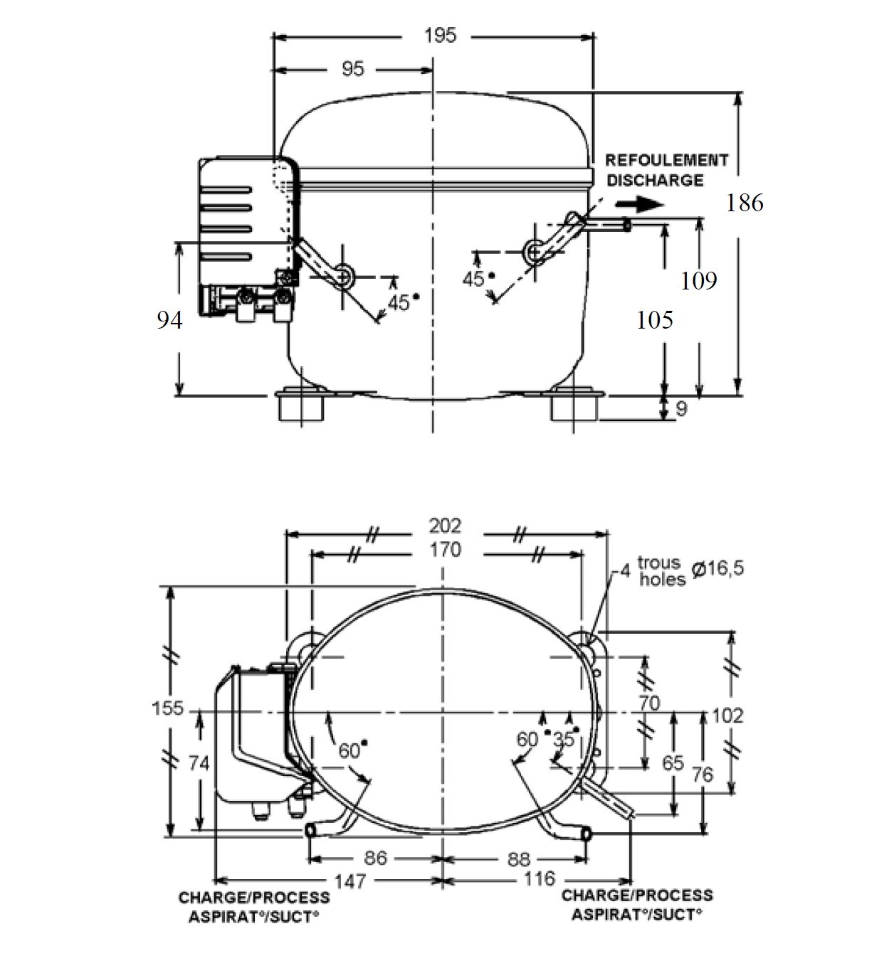
| Розміри | 261х155х186 мм |
| Температурний режим | низькотемпературний |
| Тип двигуна | RSIR |
| Тип компресора | поршневий |
| Тип корпуса | герметичний |
| Тип масла | POE |
| Фреон | R134a |
