Підібрати обладнання
автоматичний розрахунок комплекту обладнання для холодильної камери

У кошику порожньо!
Короткий опис
Компактні напівгерметичні поршневі компресори серії ECOLINE поєднують в собі високу ефективність, плавність ходу, широкий спектр застосування, гнучкість в вибору холодоагенту, міцну конструкцію і високу надійність. Ком... Читати далі...
Короткі характеристики
автоматичний розрахунок комплекту обладнання для холодильної камери
Написати в Viber
Написати в Telegram
Компактні напівгерметичні поршневі компресори серії ECOLINE поєднують в собі високу ефективність, плавність ходу, широкий спектр застосування, гнучкість в вибору холодоагенту, міцну конструкцію і високу надійність. Компресори Bitzer оснащуються високоефективними моторами, охолоджуваними всмоктується парами, високоякісними клапанними дошками, зносостійкими приводними і нагнітальними елементами, а також адаптивним регулюванням продуктивності.
Компресори Bitzer Ecoline - універсальні компресори, які відповідають високим вимогам сучасних систем охолодження. Мають розширену область застосування: R134a до tc = 85C, R404a і R507a до tc = 62C. Висока холодопродуктивність і мінімальне енергоспоживання: високоефективні робочі клапани, мінімальний мертвий обсяг, ефективний мотор підвищеної потужності, знижені втрати потоку при низьких температурах конденсації.
Компресори мають зносостійким приводом: загартована поверхня ексцентрикового вала і колінчастого вала, підшипники з низьким коефіцієнтом тертя і алюмінієві поршні, поршневі кільця, зміцнені хромом. Клапани виготовлені з ударопрочной пружинної сталі. Компресори даної серії мають компактний дизайн, низький рівень пульсації газу завдяки спеціальній конструкції головки циліндрів. Можливе відключення циліндрів або зміна швидкості обертання, швидке циклічне відключення циліндрів.
| ------- | |
| Актуальність | актуальний |
| Бренд | Bitzer |
| Гарантія | 1 рік |
| Діаметр патрубків всмоктування | 54 мм (2 1/8 ') |
| Діаметр патрубків нагнітання | 35 мм (1 3/8 ') |
| Живленя | 380-420V / 50Hz / 3 ~ |
| Кількість циліндрів | 6 |
| Країна бренду | Німеччина |
| Модельний ряд | GE |
| Обсяг заправки масла | 4.75 дм3 |
| Основна характеристика м³/ч | 126.8 |
| Охолодження при t ° конд. + 45 ° С, t ° кіп.-10 ° С | 66.7 кВт |
| Потужність | 40 кВт |
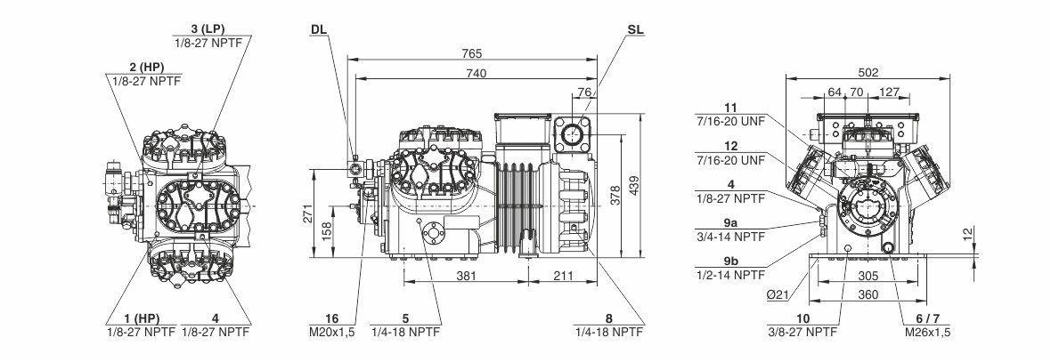
| Розміри | 765x502x439 мм |
| Температурний режим | низькотемпературний |
| Тип двигуна | версія 2 |
| Тип компресора | поршневий |
| Тип корпуса | напівгерметичний |
| Тип масла | BSE32 (для R134a і tc> 70 ° C - BSE55. д ля R22 - B5.2) |
| Фреон | R134a. R404a. R507a |
